Пресс для брикетирования алюминия может быть использован для создания брикетов из промышленных отходов, таких как алюминиевый порошок, алюминиевая пыль и т. д., производимых в ходе металлургии или обработки. Брикеты могут быть помещены в доменную печь для дальнейшей переработки или использоваться в качестве химических добавок. Таким образом, с помощью этого пресса для брикетирования алюминия, вы можете в полной мере получить пользу и добавленную стоимость взамен утилизации.


Оборудование для формования брикетов имеет широкий спектр применений. Оно может не только обеспечить более рациональное использование алюминия, но и сэкономить множество потребляемых ресурсов, а также снизить издержки. Таким образом, наши брикетировочные прессы для алюминия - это ваш лучший выбор для обработки алюминиевых отходов.
| Модель | YKHD 530 | YKHD 650 | YKHD 750 | YKHD 850 |
| Диаметр (мм) | 530 | 650 | 750 | 850 |
| Ширина (мм) | 196 | 196-250 | 196-250 | 196-250 |
| Максимальный линейный коэффициент сжатия (т/см ) | 5 | 6 | 6 | 8 |
| Полное давление (т) | 100 | 110 | 120 | 300 |
| Мощность (кВ) | 45 | 55-75 | 75-90 | 75-90 |
| Мощность предварительного сжатия (кВ) | 11 | 15 | 18.5 | 18.5 |
| Мощность масляного насоса (кВ) | 1.5 | 1.5 | 2.2 | 3 |
| Скорость (об./мин) | 9 | 9 | 9 | 9 |
| Производительность (т/ч) | 2-4 | 5-8 | 8-12 | 9-15 |
| Размер шара (мм) | 38*25*13 (Регулируется пользователем) | |||
Примечание: Вышеуказанные технические параметры даны для справки и могут быть изменены в соответствии с требованиями клиента. Кроме того, упомянутые выше брикетировочные прессы могут быть оснащены гидравлической системой.
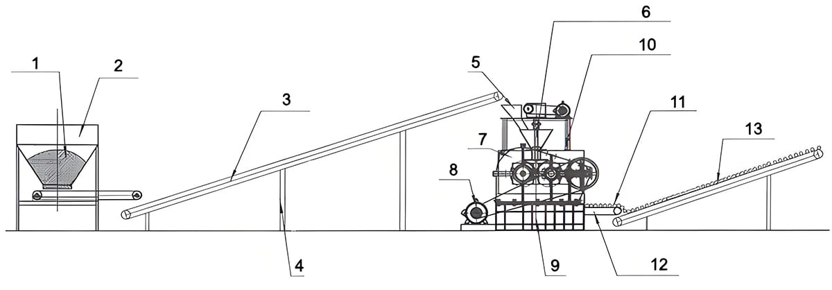
Машины для брикетирования YUKE состоят из трех частей, а именно подающей части, приводной части и части формования в брикеты (основная часть машины).
Подающая часть в основном используется для равномерной подачи материала на валы. В частности, шнековый питатель, приводимый в движение электромагнитным двигателем с регулируемой скоростью, принудительно подает материал в главный порт подачи с помощью ременного шкива и червячного редуктора. Благодаря постоянному крутящему моменту, двигатель может держать постоянное давление подачи, обеспечивая стабильное качество брикетов.
Главная приводная система пресса для брикетирования состоит из двигателя, треугольного ремня, редуктора, передач и роликов. Энергия, создаваемая электромагнитным регулируемым двигателем, передает на ведущей вал через шкив, редуктор и муфту, а приводной вал вращается синхронно с ведомым валом посредством открытой передачи.
Ключевой частью формовочной части являются ролики. С помощью роликов сырье может быть сжато в брикеты различных форм. Кроме того, ролики имеют защиту от перегрузки, что позволяет изготавливать брикеты высокого качества.

Ищете оборудование для брикетирования, которое идеально подходит под ваши задачи?
Мы проектируем решения для брикетирования металла, шлама, биомассы и угля с учётом ваших требований.
Компания YUKE предлагает высокоэффективные и энергоэкономичные решения для брикетирования и организации производственных линий. Наши автоматизированные линии универсальны и незаменимы при формовании материалов в различных отраслях промышленности.
Мы поставляем полный комплект оборудования для производственной линии, включая: вибросита, дробилки, дозаторы, сушилки, смесители, брикетировочные прессы, питатели и конвейеры — всё это формирует замкнутую и эффективную систему переработки материалов.
Наши ключевые брикетировочные машины спроектированы для эффективного прессования широкого спектра порошкообразных материалов, таких как железный порошок, минеральные смеси, окалина и огнеупорные компоненты. Это делает оборудование востребованным в металлургии, химической промышленности и строительстве.